2015尼泊尔喜马拉雅8000米山秋季攀登结束

登山 10年前
距离2015年结束仅剩下两个半月的时间,今年也极有可能成为近些年登山历史中最不成功的年份之一。

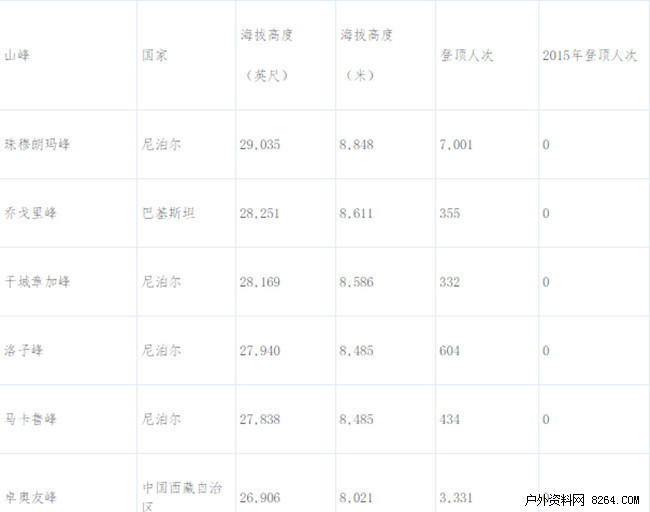
世界上14座海拔八千米级别山峰中,珠穆朗玛峰和乔戈里峰无人登顶。而中国西藏自治区境内的巨峰,希夏邦马峰和卓奥友峰同样也无人到达顶端,而尼泊尔境内几乎所有其他热门山峰的情况也大致如此,其中包括马卡鲁峰和洛子峰。

当然,2015年4月25日的地震终止了登山进程,并对尼泊尔和中国西藏自治区南部造成了极大的影像,超过9,000人遇难,数百万间房屋倒塌。现在,随着季风季结束,重建才刚刚开始。

这是自1974年以来,珠穆朗玛峰尼泊尔或是中国西藏自治区境内首次任何一条线路都无人成功登顶。相较而言,2015年麦金利峰的登顶人数为429人。而麦金利峰上一次无人到达山峰顶端的登山季则是1957年。

登山变得如此热门,所以世界海拔最高山峰出现零次登顶的情况颇为罕见。

随着秋季的到来,徒步者也正在享受尼泊尔的徒步线路,但是到访者数量仅为去年的一般,很多人远离对茶馆和道路产生严重破坏的地震威胁。那些现在身处该区域的人们表示,现在对于恐惧描述确实言过其实。是的,部分政府,例如,英国,最近才撤销了阻止登山者和徒步者购买保险的旅游警告。

此刻很多人开始重新攀登徒步山峰,岛峰,Mera峰和lobuche峰。现在,依然有一支队伍在攀爬一座八千米级别山峰,而韩国团队则在攀登洛子峰南壁。他们几乎把这变成的一年一度的活动,洛子峰这一端山壁有着极大的落石和雪崩风险。考虑到这个秋季人们在附近其他山峰的攀爬表现,例如,珠穆朗玛峰和马卡鲁峰,如果他们能够取得成功,这同样会是颇为令人惊叹的成绩。

有一支队伍计划在今年冬季尝试南迦帕尔巴特峰。南迦帕尔巴特峰和乔戈里峰是世界上从未有人实现冬季攀登的两座山峰。

艰难的一年

距离部分海拔八千米级别山峰上一次没有任何成功登顶距离已经有十数年时间。2015年,截止到现在,14座八千米级别山峰中的九座没有人到达顶端。或许在通常的冬季尝试过程中,我们能够看到数次登顶,但是如果依照历史数据判断,这种可能性极低。

2015年八千米级别山峰登顶数据统计


看起来较高的气温令整个喜马拉雅山区的雪况相当糟糕。雪面如同糖粒一般,柔软且容易引发雪崩。偶尔出现的暴风雨或暴风雪中突起的狂风令已经有厚重雪层覆盖的陡坡堆积大量雪粒,增加了危险。今年夏季和秋季,这种情况在布洛阿特峰到马卡鲁峰,再到珠穆朗玛峰,颇为普遍。大多数队伍毫无机会而那些强行攀登的团队,不过是有些运气。

马纳斯鲁峰是大赢家,不过很容易就会满盘皆输。在马纳斯鲁峰积累了多年经验的团队在数周内修路至难度部分,最终在状况看起来太过危险时离开。但是其他队伍,在如此积极的协助下,留在这里,并在短暂的好天气周期内迅速行进,数日内,有超过80人成功站在山峰顶端。

同时,山峰间还有其他的消息传出,数次首攀尝试。2014年,尼泊尔新开放了104座山峰。大部分山峰没有名字,但是有一座却以成功攀登珠穆朗玛峰的最为年长的美国人命名,Bill Burke,2014年,他以72岁的高龄从中国西藏自治区一侧到达山峰顶端。

位于中国边界,海拔22,775英尺的Burke康峰就在珠穆朗玛峰和卓奥友峰之间。Bill,因为这份礼物感到格外荣耀,认为成为首位登顶“自己”山峰的登山者才是最为适宜的安排。Bill和探险向导Garrett Maddison将于10月晚些时候进行尝试。

地震之后的报告现实,Ama Dablam峰上有部分积雪,但是看起来颇为稳定。随着近距离观察,团队会对此有更好的了解,现在,多支队伍正在向那里进发。

过去数年间,Ama变得极为热门,而且这座美丽的山峰有数百次尝试。高海拔营地规模很小,仅能够容纳数间帐篷,所以队伍组织者建立了中间海拔营地,或是从传统的低海拔营地开始他们的冲顶尝试,进行漫长的攀爬。

近日,这里发生了数起因落石和雪崩导致的死亡事件。

努子峰-攀登

Ueli Steck正在尼泊尔Khumbu地区进行海拔适应训练,他计划攀爬努子峰南壁。他写道,‘7804米。我和Tenji夏尔巴充分利用好天气周期。我们曾一同沿法国线路登顶Cholatse峰北壁。”

道拉吉里峰-结束

一支由法国阿尔卑斯登山者Yannick Graziani带领的小型队伍因山峰海拔7,000米的恶劣状况而返回,结束了他们在道拉吉里峰(海拔26,794英尺/8,167米)的尝试。

珠穆朗玛峰-结束

来自日本的栗城史多在下撤返回之前到达了山峰南坳,也可以说是4号营地的所在位置上部海拔8,150米处。他从相对很低的地点出发,约7,800米,这里于传统的3号营地海拔相近,但是他偏向传统线路左侧进行攀爬以避开雪崩危险。他独自一人攀登,没有使用辅助氧气,但是的确安排了所有的协助工作,其中包括冰川医生从大本营至2号营地铺设线路。

尼泊尔政府位任何购买登山许可的攀爬者提供冰川医生,即使是在秋季,而此时的许可费用为5,500美元(编者按-春季珠穆朗玛峰的登山许可花费为11,000美元)。

栗城知道这将是漫长的攀爬过程,一周前,他来到海拔7,700米处,不过由于厚重的积雪而被迫返回。但是,他相当坚决,而且非常果敢。2012年,当他在珠穆朗玛峰西脊进行尝试时,失去了九根手指。当年,他寻求救援,但是这一次,他自行下撤。

乔戈里峰的尸体

关于今年夏季引起大量关注的另外一个故事的更新。瑞士攀岩者Mike Horn在Facebook网页上上传了一段视频,展示了乔戈里峰大本营和前进营地之间一颗腐烂的头颅。很多人认为这或属于Marty Schmidt,又或是他的儿子Denali。Marty的女儿,Sequoia di Angelo来到乔戈里峰大本营,提取DNA样本,并在充满敬意的丧葬仪式中掩埋了遗体。

根据新西兰某网站报道,DNA测试确认尸体既不是Marty,也并非Denali。而遇难者的身份依然未知。2013年,当雪崩袭击他们所处的帐篷时,Schmidt正身处3号营地。2008年,11名登山者在临近瓶颈区域时因为滑坠和雪崩而遇难。
分享: